Description
Automatic gas steam-generator with power capacity 264 kW (from 175 to 350 kg of hot steam per hour), steam pressure in range from 1 to 5 bar
Automatic gas steam-generator, available power 264 kW – The production capacity from 175 to 350 kg of hot steam per hour. Water feed can be connected directly to the water mains or to a condensate tank. Regulation of the working steam pressure is adjustable in range from 1 to 5 bar.
This steam-generator is equipped with gas burner RIELLO RS 4DF MBZRDLE 412g – gas inlet pressure 2-36 kPa. The steam-generator shell is manufactured in accordance to the current PED regulations.
Produced in EU

Recommended usage :
- Heating of brewhouses – recomended for brewhouses with maximal usage volume from 2000 to 4000 liters per one brew
- Heating of hot water in heat water tanks – boilers
- Sterilization of vessels, pipes, hoses and food equipment or farmacy equipment by hot steam
Standard accessories and properties (included in price) :
- Ready for use with common heating medium: natural gas, LPG or diesel (light fuel oil)
- Steel condensate recovery tank and all equipment for returned condensate reuse
- High temperature pump
- High efficiency burner – min. 92%
- Steel boiler
- Working ambient temperature : +5°C up to +80°C

Benefites :
- Easy connecting to the media (gas event. light fuel oil, water, electricity, steam exhaust, chimney, condensate outlet)
- Water tank with a pump, control the water level and temperature, incl.all valves, closing and locking components.
- Steam production within a few minutes
- Automatic boiler sludge draining system
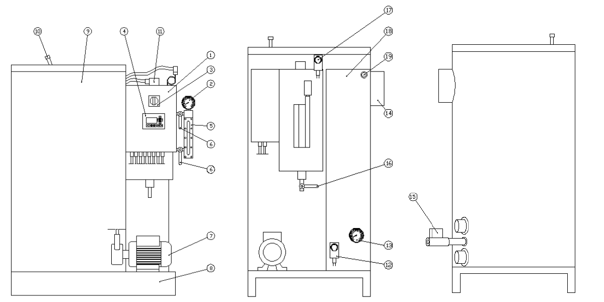
Description of main parts :

- Electric switchboard
- Manometer
- Main switch (on/off)
- Control panel
- Water level indicator
- Valves to closure of the level indicator
- Pump
- Basic frame
- Boiler body
- Inspection pipe
- Level probes
- Thermostat
- Thermometer
- Outlet of the exhaust fan
- Blowdown valve
- Boiler discharge valve
- Pressure relief valve
- Water reservoir
- Water overflow drain outlet
Technical parameters :
| Type | GSG-AV350 / ANFRA A.V.350 |
| Steam production capacity | 350 kg/h |
| Steam output power capacity | 264 kW |
| Steam output power capacity | 227500 kcal |
| Steam output pressure | 5 bar |
| Gas consumption (light fuel oil) | 27.0 m³/h |
| Diesel consumption | 22.7 kg/h |
| LPG consumption | 18.9 kg/h |
| LPG consumption | 8.4 m³/h |
| Electric power supply | 400V / 3phase + N / 50 Hz / 1.5 kVA |
| Steam output connection | GAS 1 inch |
| Waste vapour outlet (chimney connection diameter) | 200 mm |
| Pressure of waste vapour | 5.0 bar |
| Net weight | 490 kg |
| Jet length of the gas burner | 200/250 mm |
| Height (without the gas burner) | 1670 mm |
| Width | 1200 mm |
| Depth | 700 mm |
Outer dimensions :

| Model | GSG-AV50 | GSG-AV100 | GSG-AV150 | GSG-AV200 | GSG-AV250 | GSG-AV300 | GSG-AV350 |
| height (mm) | 1130 | 1130 | 1400 | 1400 | 1670 | 1670 | 1670 |
Optional accessories (for surcharge) :
| Item code : | Description : | Price : |
| GSG-ASS | Automatic start system (the machine and hot steam will be ready to use in time you need) | in price |
| GSG-ABSD | Automatic boiler sludge draining system (do not need an operator manual activities – the digital timer and the pneumatic valve are included) | in price |
| GSG-STPH | Supply tank pre-heating (ensures quick start of the steam production) | On demand |
| GSG-ETCP | External LCD touch control panel (secondary LCD control panel for placing anywhere – 24V supply and FTP cable between the steam generator and the external LCD panel are required) | On demand |
| GSG-SOHS | System for over heating the steam (over heates the outgoing steam to temperature up to 180°C on 5 bar pressure) | On demand |
| GSG-ECON | Economizer (waste heat is used for pre-heating of water – the efficiency is 5% higher – up to 98% ) | On demand |
| GSG-DBP | Special burner and the pump for use the steam generator with diesel (the light fuel oil) | On demand |
| GSG-350A-CT | Cooling tank with the boiler sludge draining system | On demand |
| WTS-MX180 | Water treatment simple system (necessary equipment if water for use with the machine is not absolutelly soft) | On demand |
| WTS-SG6 | Water treatment duplex system (necessary equipment if water for use with the machine is not very soft) | WTS-SG6 page |
| SSFS-MX44 | Complete set of stainless steel accessories for achieve pure steam (culinary quality) for 1″ steam pipe line | SSFS-MX44 page |
Instalation : Installation and assembling of the gas steam-generator performs each specialist company authorized for installation of gas appliances. The customer receives detailed installation instructions in the manual.
Warranty : 12 months
Delivery time : from 3 days to 6 weeks (according store status)
Certificates: CE + PED 97/23/CE









Reviews
There are no reviews yet.